jump to navigation

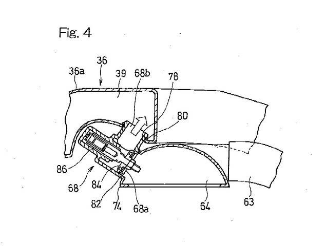
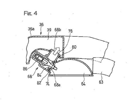
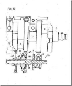
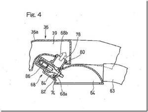
Lebih detail mengenai Sepeda motor Kawasaki dengan supercharger » kawasaki-supercharged-motorcycle-engine-patent-drawings-06-Small.jpg

Komentar»

No comments yet — be the first.

Monggo Silakan Berkomentar< Bebas Sopan< mohon maaf jika belum dibalas< Matur Nuwun :D