Honda digosipkan racik Mesin 2T Injeksi Ramah Lingkungan, NSR reborn Khusus Orang Kaya Raya? 19 Juli 2015
Posted by ipanase in ahm, honda, info otomotif, otomotif, pertamax7.com, sepeda motor.Tags: honda 2T engine, honda 2T reborn, honda NSR reborn, honda RC valves engine, new honda 2T engine, new honda 2T green, pertamax7.com
trackback
pertamax7.com, ada yang nggak kenal honda NSR? sebuah motor yang keluar dari pakem honda yakni 4T lovers
^ seumur-umur ane lagi ketemu motor ini sekali saja, ini motor langka selangka-langka nya… apa hayooo
menjadi legenda motor didunia balap maupun di harian… dengan harga selangit, performa melejit, namun demi “green” sang motor kencang ini di binasakan
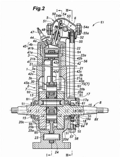
nah baru sekedar gosip sih, HOnda mau bikin motor 2T injeksi yang ramah lingkungan? seperti yang dilansir morebikes.co.uk , media luar negeri tentunya bukan media indonesia… gambar patent honda 2T bocor….
dalam foto ini memang masih belum jelas berapa jumlah pistonnya, namun cek nomer
70 lubang injector
74 soket injector
74 injector unit
tentu khas 2T ada reed valve/ katub buluh setelah intake ..part nomer 25 semacam balancer?
yang unik adalah adanya klep yang identik dengan klep motor 4T, semacam buat super kips kawasaki atau RC-Valve nya honda nsr ya, unik semacam motor 1 klep ini patent mesin 2T nya Honda .. klep dengan pelatuk yang sangat mirip mesin 4T namun cuma 1 bikin, decompresi kah? digerakkan dengan push rod?
foto ini nampak baru 1 piston, new honda NSR250R , new honda NSR150R reborn? …secara basis 2T injeksi 1 piston ini bisa jadi juga buat 2, 3 maupun 4 cylinder nih
nah kalau patent bocor, mau di developt kapan, mau di produksi kapan, biasanya jedanya barapa tahun yak? tentu panjang soalnya ini 2T
akankan ini akan menjadi motor 2T yang lulus euro5?
hemm, pertanyaanya kalau pun dibuat honda NSR150RR lah, SP lah, RRR lah, dengan teknologi maju khas honda, mau dijual berapa itu motor 2T ramah lingkungan? Rp.100 juta? itu baru yang 150, yang 250? yang 500? mungkin hanya khusus orang kayah raya… mau beli?
jangan-jangan seperti honda RC213V-S road legal PGM-FI, honda juga bikin Honda NSR-500R street legal 2T green technology PGM-FI??? tentu menyasar orang kayah rayah
ikuti berita terbaru dan silaturahmi via
- email : pertamax7blog@gmail.com
- Facebook : pertamax7.wordpress.com
- twitter : @ipanase
- Google+ : ipanase megison
- Intagram : pertamax7
- nike+ : pertamax7


isu kui…
Modifikasi cakep headlamp sepeda motor: http://wp.me/p1eQhG-j6
SukaSuka
Mesti mhl
Test Ride MX King 150, part 2 : Design – http://wp.me/p2XD22-2yf
SukaSuka
horaa kuat
SukaSuka
Yg jelas gakan murah
New tiger
SukaSuka
yoi…lebih murah promo jemur,,,,
SukaSuka
Kek artikel terbaru ini ya
SukaSuka
walah…. 😮
SukaSuka
Nih pabrikan mmg the front,,jos gandos
SukaSuka
yg jelas kl performanya lbh siip dr cbr lokal…ya mahaaaaaalll
SukaSuka
kalo oli samping di ganti minyak bimoli mungkin akan lebih ramah lingkungan dan sedappppp bikin lapaer
SukaSuka
kalo ini patent 2 tak injeksi juga apa bukan pan? udah lama sih
https://www.google.com.na/patents/EP0980969A2
SukaSuka
Motor favorit w .. ninin mah w asepin pke ini motor ..
SukaSuka
mau beli kalo ngak ;
-asep
-suara
2tak ramah wah power gede cc kecil enteng impian semua orang
SukaSuka
Wah mumpung belum lahir. Fiz r ku mesine tak modip model bgini ah. Pasti joss
SukaSuka
contoh nyata Ronax 500, basic nsr 500 road legal sudah injeksi.
SukaSuka
Ronax 500 Basic NSR 500? goblog gak ketulungan. Basic Ronax 500 itu YZR 500 tahun 1990. cuma body nya doank yang mirip NSR 500
-____________-“
SukaSuka
Elu yg goblok roy, udah gak tau sok tau nih u baca baek2 basis engine ronax emng ngambil dari basis NSR
http://iwanbanaran.com/2014/05/12/wooww-engine-penerus-sang-legendaris-honda-nsr500-segera-lahir-dijerman/
SukaSuka
Mantap ini, mesin 2T di kembangkan lagi.
Numpang sharing game android Gan
http://en.knicket.com/android/touch-animal-puzzles/wlfvr
SukaSuka
ane yakin 100% kalopun proyek itu jadi nyata, tetep bakalan di BC ama pasukan fby.
SukaSuka
Yey.. impian gue jdi kenyataan :v
Baru ane lamunin dri kamar mandi
SukaSuka